网站首页
单位概况
单位简介
领导团队
发展历程
医院文化
院容院貌
环境信息
院务公开
医院资质
单位动态
服务流程
其它索引
招聘信息
投诉监督
招标投标
医疗护理
名医风采
名医工作室
体检中心
护理园地
健康疾控
改善医疗服务
科学研究
科技处
伦理审查平台
临床试验
教育教学
教育处
规培基地
图书馆
企业邮箱
特色医疗
重点专科
特色制剂
党建文化
普法园地
普法园地
护理资讯
护理新闻
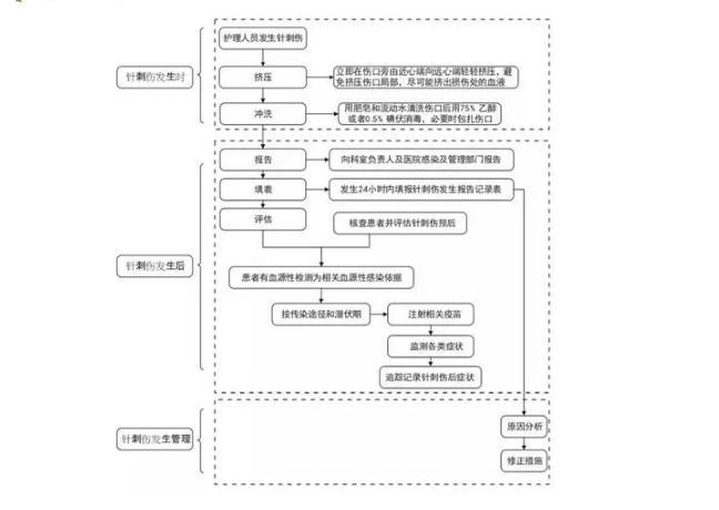
针刺伤,别再“伤”
日期:2019年03月26日
返
回
顶
部